-
耐冲击性好
钢塑两种材料结构复合而成,耐冲击性 (脆性)好,管道弹性形变可达50~70%,不易脆裂;
-
防腐性能强
复合管材内外壁均采用高密度聚乙烯塑料为基体,具双面防腐,有良好的耐酸、耐碱、耐化学腐蚀性能。
-
流通能力强
内壁光滑、基体材料HDPE属非极性物质,管壁不结垢,流通能力强,较球墨铸铁管、钢管可提高20%以上。
-
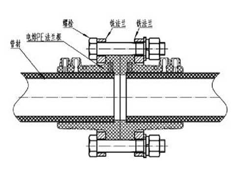
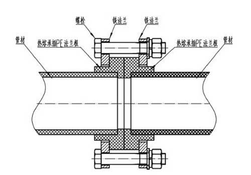
密封性能好
利用高密度聚乙烯的热塑性原理,管道采用电热熔连接,一次成功,不渗漏,密封性能很好;
-
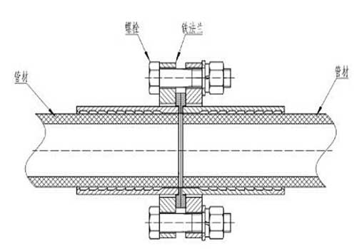
连接可靠高
利用统一标准参数焊接,人为因素少,接头不渗漏,连接可靠性高。
-
承压强度高
有更高的承压强度和抗蠕变性能;具有普通纯塑料管没有的刚性、抗冲击性,类似钢管的低线膨胀系数
-
单体质量轻
De160:7.00kg/m DE200:10.00kg/m; DE250:13.00kg/m DE315:21.00kg/m。
-
施工费用低
施工简单,管材重量轻,无需吊车等器械辅助;无需做混凝土基础及昂贵的锚定;操作方便,安装快,施工费用低。
-
使用寿命长
抗磨损性能良好,在正常使用情况下,使用寿命50年。


